
OPPO kamera modülü
Çinli üretici OPPO'nun yeni aldığı patent, çıkarılabilir bir kamera modülüne sahip olan akıllı telefonu gösteriyor. Böylece kamera lensleri istendiğinde değiştirilebilecek.
Sökülebilir-takılabilir
yapıdaki
modüler akıllı telefonlar
uzun süredir konuşuluyor. Böylece aslında
bilgisayar bileşenlerinde
olduğu gibi bir
değişim
ya da
yükseltmenin
gerçekleşebileceği düşünülüyor.
Şu ana kadar ufak tefek denemeler olsa da aslında projeler başarıya ulaşabilmiş değil. Belki de sadece
belirli bileşenlerin modüler yapıda tasarlanması
en doğru tercih.
OPPO
da bu noktadan yola çıkarak
çıkarılabilir bir kamera modülüne sahip
akıllı telefonun patentini aldı.
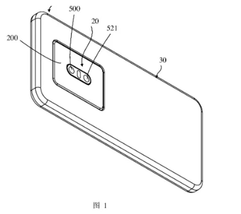
olarak geçen web sitesindeki yeni patent,
kamera modülünün
telefondan çıkarılabildiğini gösteriyor. Patent resimleri ve açıklamaları ise gelecekte bu telefonun
arka panelden çıkarılabilen kamera modülüyle
değişim sağlanabileceği üzerinde duruluyor.
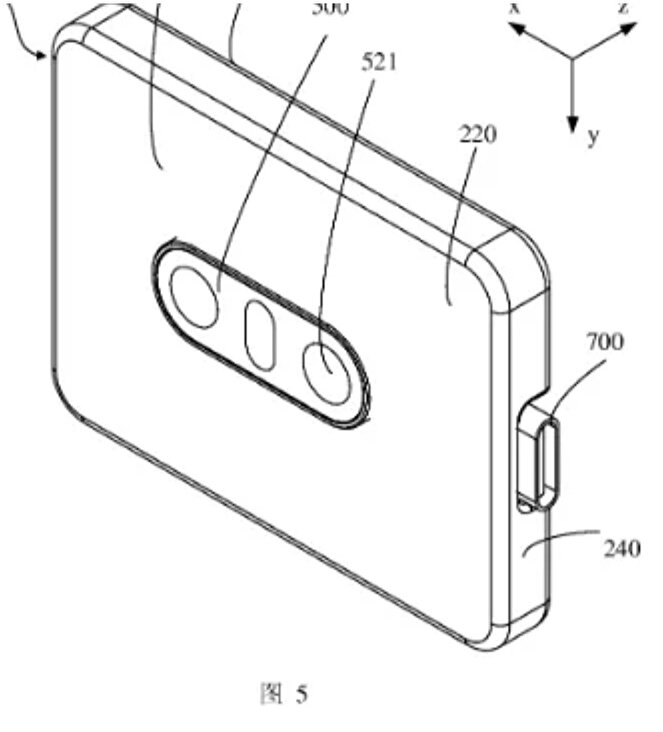
USB Type-C üzerinden
akıllı telefon bağlantısının sağlanacağı kamerada farklı türde fotoğraf çekmek isteyenler
geniş açı
ya da
yakınlaştırma
yetenekleri olan lensleri gövdeye takabilecekler.
Kamera modülünde
iki farklı sensör
ve bir de
LED flaş
yer alıyor. Ancak eğer patentte kalmaz ve
OPPO
bu tasarım üzerine giderse belki farklı lensleri de görebiliriz. Dahası, modül üzerinde bulunan
USB-C konektörü
en az iki açıda
(
90 derece ve 180 derece)
bükülüyor. Bu da birden faza açıdan
görüntü
ve
video çekme esnekliğine
sahip olacağı anlamına geliyor.
WIPO görüntüleri
, OPPO telefonun hem ön hem de arkada fotoğrafçılık amacına hizmet edecek modüler kamera ünitesi dışında oldukça
standart bir tasarıma
sahip olacağını gösteriyor. Kamera modulü, kamera sensörlerini, esnek bir devre kartını ve bir
USB-C tipi konektörü
içeriyor.
Açıklamada ayrıca kamera modülünün ana kartının uzaktan iletişim için
Wi-Fi, Bluetooth
ya da
NFC
gibi kablosuz bağlantı teknolojilerini de
destekleyebileceği
belirtiliyor. Modülde ayrıca gerektiğinde
şarj edilebilen bir lityum pil
de bulunuyor.
#modüler akıllı telefon
#usb type-c
#sökülebilen kameralı telefon










